Tonbandservice

Ein Portal für die Reparatur und Wartung von 

Geräten der Reihe UHER Report 4000 - 4400 

und UHER Report Monitor 4000 - 4400

EXTRA: UHER Royal 560 und Royal de Luxe

1.0 Ausschwenken des Gerätes aus dem Gehäuse und entfernen des Auflegers

Um die Servicearbeiten auszuführen, wird das Gerät aus dem Gehäuse herausgeschwenkt bzw. der Aufleger entfernt.

a) Gerät herausschwenken:

Die 2 großen Befestigungsschrauben des Auflegers herausschrauben. Jetzt das Gerät aus dem Gehäuse herausschwenken und abstützen bzw. auf eine Seite stellen.

b) Aufleger entfernen:

Vordere Tonkopfkappe und sämtliche Bedienungsknöpfe abziehen. Die 8 Befestigungsschrauben des Auflegers herausschrauben und Aufleger entfernen.

1.1 Antrieb (siehe Abb. 1)

Der Bandgeschwindigkeitswähler schaltet gleichzeitig den Netzschalter und die zur Bandgeschwindigkeit gehörende Entzerrung ein. Die Umschaltung der Bandgeschwindigkeit bewirkt ein Verstellen des Reibrades (B), das in die jeweiligen Stufen der Motorrolle (A) und der Schwungmasse (C) eingreift.

In Stellung „Verstärker" des Bandgeschwindigkeitswählers wird der Motor abgeschaltet.

Die Besonderheit des Antriebssystemes ermöglicht den Betrieb des Gerätes in horizontaler und vertikaler Lage. Die nötige Voraussetzung dazu bringt der Aufbau der Kupplungen in Verbindung mit den Fühlhebeln. Diese Anordnung, die bei allen Betriebsarten und in allen Betriebsstellungen wirksam ist, wird als „Bandzugkomparator" bezeichnet.

Zum Verständnis der Arbeitsweise des Bandzugkomparators ist zunächst der Aufbau der Kupplungen zu betrachten (siehe auch Abs. 1.2). Da beide Kupplungen gleichartig aufgebaut sind, genügt die Beschreibung einer Kupplung.

Der die Bandspule aufnehmende Spulenteller ist fest mit einer Kupplungsscheibe verbunden, die an ihrer Unterseite mit einem Filzbelag versehen ist. Gegen diese filzbelegte Kupplungsscheibe wird eine Druckscheibe stärker oder schwächer angedrückt. Dadurch wird das Mitnahmemoment der aufwickelnden Kupplung bestimmt. Die horizontale Bewegung des Fühlhebels wird umgesetzt in einen vertikalen Druck auf die Druckscheibe. Der Fühlhebel ändert seine Stellung mit dem Bandwickeldurchmesser.

Im folgenden wird erklärt, wie der Bandzug entsteht und geregelt wird.

Der Bandzug entsteht durch die Reibung der beiden Kupplungsteile (Kupplungsscheibe und Druckscheibe) gegeneinander. Die Größe des Bandzuges wird durch Vorspannen der Komparatorfeder eingestellt. Die Komparatorfeder greift an dem Fühlhebel an. Ihre Zugkraft ist der Kraft des Abwickel- bzw. Aufwickelzuges entgegengesetzt gerichtet. Die Geichmäßigkeit des Bandzuges über die gesamte Bandlänge wird durch die Regelung des Mitnahmemomentes der Kupplungen erzielt.

Nachfolgend wird das Zusammenwirken von Bandzugkomparator und Laufwerk bei den Betriebsarten „Pause", „Start" , „Vorlauf" und „Rücklauf" dargestellt und erläutert.

1.11 Pause (siehe Abb. 1)

Die auf der Achse des Hysteresis-SynchronMotors sitzende Motorrolle (A) ist entsprechend den vier Bandgeschwindigkeiten abgestuft und treibt über das Reibrad (B) die Schwungmasse (C) und damit die Tonwelle an.

Der von der Motorrolle (A) getriebene Riemen (D) bewegt das linke Friktionsrad (E), das Antriebsrad (F) und die Druckscheibe (G) der aufwickelnden Kupplung.

Die Bremse (P) wird von der Druckscheibe (G) abgehoben. Die Druckscheibe (G) kann sich ungehindert drehen. Die anliegende Bremse (Q) sperrt die Druckscheibe (O). Von einer Mechanik, welche den rechten Fühlhebel nach links drückt, wird das Mitnahmemoment der Aufwickelkupplung bestimmt.

1.12 Start (siehe Abb. 1)

In Stellung „Start" wird das Band mittels der Andruckrolle an die Tonwelle gedrückt und transportiert.

Zugleich beginnen die Fühlhebel (H) und (I) und die Komparatorfedern (K) und (L) zu arbeiten. Die horizontale Bewegung der Fühlhebel (H) und (I) wird mittels der Winkelhebel (M) und (N) auf die Druckscheiben (G) und (O) übertragen. Abhängig vom Bandwickeldurchmesser der beiden Spulen halten die Fühlhebel den Bandzug konstant.

1.13 Vorlauf (siehe Abb. 2)

Von einem Hebelwerk wird das von der Motorrolle (A) über den Riemen (D) getriebene Friktionsrad (E) gegen das Zwischenrad (R) und dieses gegen die Druckscheibe (G) gedrückt.

Gleichzeitig wird die Bandzugstange (S) in Pfeilrichtung bewegt. Dadurch wird die Komparatorfeder (L) vorgespannt, die Komparatorfeder (K) entspannt und die Bremse (P) von der Druckscheibe (G) abgehoben. Die Bremse (Q) dagegen sperrt die Druckscheibe (O) in ihrer gewollten Drehrichtung. Durch die vorgespannte Komparatorfeder (L) wird über den Fühlhebel (I) und den Winkelhebel (M) ein so großer Druck auf die Druckscheibe (G) übertragen, dass das Mitnahmemoment genügend groß wird, um die volle Umspulkraft vom Friktionsrad (R) zu übernehmen. Der Fühlhebel (I) sorgt nunmehr dafür, daß die für den Umspulvorgang benötigte Kraftübertragung in gleicher Größe erhalten bleibt. Durch die entspannte Komparatorfeder (K) wird über den Fühlhebel (H) und den Winkelhebel (N) ein geringer Druck auf die DruckScheibe (O) übertragen. Der Fühlhebel (H) sorgt jetzt dafür, daß mit dem sich ändernden Bandwickeldurchmesser der abwickelnden Kupplung deren Bremsmoment geregelt und damit der Bandzug konstant gehalten wird. Beim Abschalten der Stellung „Vorlauf" bleibt das Tonband stehen, weil die fördernde Kraft des Zwischenrades (R) aufgehoben wird, und die linke gesperrte Druckscheibe (O) die Kupplungsscheibe abbremst.

1.14 Rücklauf (siehe Abb. 3)

Von einem Hebelwerk wird das von der Motorrolle (A) über den Riemen (D) getriebene Friktionsrad (E) gegen die Druckscheibe (0) gedrückt. Gleichzeitig wird die Bandzugstange (S) in Pfeilrichtung bewegt. Dadurch wird die Komparatorfeder (K) vorgespannt, die Komparatorfeder (L) entspannt und die Bremse (Q) von der Druckscheibe (O) abgehoben. Die Bremse (P) dagegen sperrt die Druckscheibe (G) in ihrer gewollten Drehrichtung. Durch die vorgespannte Komparatorfeder (K) wird über den Fühlhebel (H) und dem Winkeihebel (N) ein so großer Druck auf die Druckscheibe (O) übertragen, daß das Mitnahmemoment genügend groß wird, um die volle Umspulkraft vom Friktionsrad (E) zu übernehmen. Der Fühlhebel (H) sorgt nunmehr dafür, daß die für den Umspulvorgang benötigte Kraftübertragung in gleicher Größe erhalten bleibt.

Durch die entspannte Komparatorfeder (L) wird über den Fühlhebel (I) und den Druckwinkel (M) ein geringer Druck auf die Druckscheibe (G) übertragen.

Der Fühlhebel (I) sorgt jetzt dafür, daß mit dem sich ändernden Bandwickeldurchmesser der abwickelnden Kupplung deren Bremsmoment geregelt und damit der Bandzug konstant gehalten wird. 

Beim Abschalten der Stellung „Rücklauf" bleibt das Tonband stehen, weil die fördernde Kraft des Friktionsrades (E) aufgehoben wird und die rechte gesperrte Druckscheibe (G) die Kupplungsscheibe abbremst.

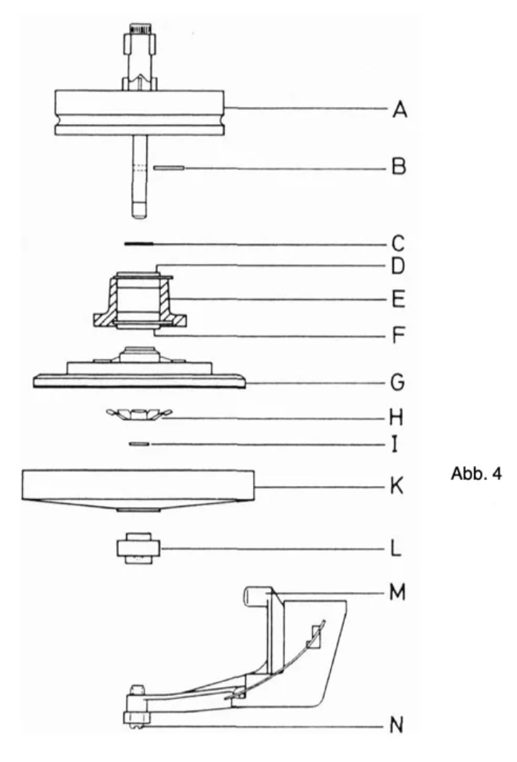
1.2 Kupplungen (siehe Abb. 4)

Im Aufbau der Kupplungen besteht kein Unterschied. Sie setzen sich aus folgenden Teilen zusammen:

A Spulenteller

B Mitnehmerstift 

C Beilagscheibe

D Oberes Kugellager 

E Chassis 

F Unteres Kugellager 

G Kupplungsscheibe

H Sternfeder

I Wellensicherung

K Druckscheibe

L Drucklager 

M Winkelhebel mit Lagerbügel

N Stellschraube

Die Kupplungen arbeiten lageunabhängig. Spulenteller (A) und Kupplungsscheibe (G) sind nach dem Einbau durch den Mitnehmerstift (B) gegen eine Verdrehung gesichert. Durch die Wellensicherung (I) und die Sternfeder (H) wird die Kupplungsscheibe (G) ohne axiales Spiel auf der Achse des Spulentellers (A) gehalten. Zusätzlich preßt die Sternfeder (H) die beiden Kugellager (D) und (F) fest in das Chassis (E). Der vom Bandwickeldurchmesser der beiden Spulen abhängige Druck auf die Fühlhebel wird vom Winkelhebel (M), dem Drucklager (L) und der Druckscheibe (K) auf die Kupplungsscheibe (G) übermittelt und steuert so das Mitnahmemoment bzw. Bremsmoment der jeweiligen Kupplung.

Mit den Stellschrauben (N) wird der Ausgangspunkt des Regelbereiches der Fühlhebel eingestellt (siehe auch Abs. 1.3).

1.3 Prüfung und Einstellung der Fühlhebel

1.31 Prüfung (siehe Abb. 5 und Abb. 6)

Funktionswähler in Stellung „Stop" bringen. Zwischen den Außenkanten des Fühlhebels (A) bzw. (B) und dem Einstich des Bandführungsbolzen (C) muß ein Abstand von 40 ± 1,5 mm sein.

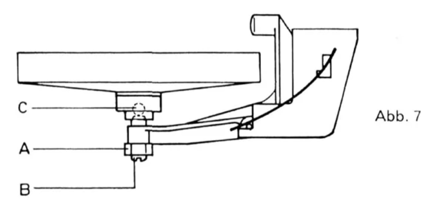
1.32 Einstellung (siehe Abb. 7)

Nach Lockern der Kontermutter (A) kann durch Drehen der Stellschraube (B) der Abstand von 40 ±1,5 mm zwischen dem Einstich des Bandführungsbolzen und dem Fühlhebel eingestellt werden. Es ist dabei darauf zu achten, daß die Stellschraube (B) mit ihrer Mitte auf die Kugel (C) des Drucklagers drückt. Bei jeder Prüfung oder Einstellung ist die Oberfläche der Kugel mit Öl (siehe Abs. 2.6) zu benetzen. Nach jeder Einstellung sind die Bandzugkomparatoren gemäß Abs. 1.4 zu prüfen.

1.4 Prüfung und Einstellung des Bandzugkomparators

Vor jeder Prüfung sind sowohl die Gummiriemen als auch die Laufflächen aller rotierenden und durch Friktion getriebenen Teile des Laufwerkes mit Alkohol zu reinigen. Voraussetzung für ein genaues Ergebnis der nachfolgenden Messungen ist die exakte Einstellung der Fühlhebel (siehe Abs. 1.3), ein sauberer bzw. neuwertiger Filzbelag auf den Kupplungsscheiben, sowie die einwandfreie Beschaffenheit der Kupplungsfläche der Druckscheiben.

1.41 Prüfung

Die Prüfung des Bandzugkomparators erfolgt über die Messung des Abwickel- bzw. Aufwickelzuges in den Betriebsstellungen „Stop" , „Vorlauf" bzw. „Stop" , „Rücklauf".

a) Messung des Abwickelzuges (siehe Abb. 8)

Bandgeschwindigkeitswähler auf 19 cm/s und Funktionswähler auf „Stop" stellen. Eine mit ca. 5 m Band bewickelte Bandspule auf den linken Spulenteller auflegen. In das freie Bandende Federwaage einhängen und gleichmäßig abziehen. Der angezeigte Wert muß 85 ±5 p bzw. 0,85± 0,05 N betragen.

Gerät auf „Vorlauf" schalten und Messung wiederholen. Der angezeigte Wert muß jetzt 35 ± 5 p bzw. 0,35 ± 0,05 N betragen.

b) Messung des Aufwickelzuges

Die Messungen des Aufwickelzuges am rechten Spulenteller erfolgen sinngemäß wie unter Messung des Abwickelzuges beschrieben.

Sollwert in Stellung „Stop" 95 ± 5 p bzw. 0,95 ± 0,05 N.

Sollwert in Stellung „Rücklauf" 35 ± 5 p bzw. 0,35 ± 0,05 N.

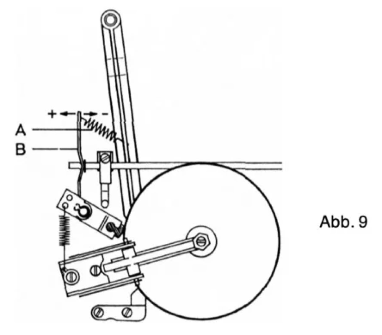
1.42 Einstellung (siehe Abb. 9)

Die in Abs. 1.41 beschriebenen Meßwerte 85 ± 5 p bzw. 95 ± 5 p können durch Voroder Entspannen der zu jedem Fühlhebel gehörenden Komparatorfeder (A) eingestellt werden. Bei zu geringem Abwickel- bzw. Aufwickelzug erfolgt die Einstellung durch Biegen der Einhängelasche (B) vom Fühlhebel weg, bei zu großem Zug dagegen durch Biegen zum Fühlhebel hin. Die Sollwerte 35 ± 5 p bei Vorlauf bzw. Rücklauf müssen sich aus der vorher beschriebenen Einstellung ergeben.

1.5 Prüfung und Einstellung des Vor-Rücklaufes

Voraussetzung für die einwandfreie Funktion des Vor-Rücklaufes sind saubere bzw. neuwertige Gummibeläge der Friktionsräder, sowie die richtige Einstellung der Bandzugkomparatoren (siehe Abs. 1.4).

1.51 Prüfung des Vor-Rücklaufes

Volle 18-cm-Bandspule auflegen und umspulen. Die Umspulgeschwindigkeit darf gegen Bandende nicht abnehmen. Anschließend etwas Tonband zurückspulen und erneut bis zum Bandende ablaufen lassen. Es muß wieder die volle Umspulgeschwindigkeit erreicht werden. Diese Prüfung muß in Stellung „Vorlauf" und in Stellung "Rücklauf" durchgeführt werden.

1.52 Einstellung des Betätigungshebels für Vor-Rücklauf (siehe Abb. 10)

In Ruhestellung muß der Betätigungshebel (A) für den Vor-Rücklauf so stehen, daß er nicht bewegt wird, wenn der Funktionswähler von Stellung „Stop" auf Stellung „Start" geschaltet wird. Nach Lockern der Schrauben (B) kann die Ruhestellung durch Verschieben der Lagerachse (C) eingestellt werden.

1.53 Einstellung des linken Friktionsrades (siehe Abb. 10)

Gerät auf „Stop" schalten. Rechtes Friktionsrad (L) leicht an die rechte Druckscheibe (M) andrücken. Der Justierlappen (E) ist durch Biegen so einzustellen, dass das linke Friktionsrad (D) gleich große Abstände zur linken Druckscheibe (F) und zum rechten Friktionsrad (L) aufweist.

1.54 Einstellung des Justierbleches (siehe Abb. 10)

Nach Lösen der Schrauben (G) wird das Justierblech (H) in Stellung „Stop" so justiert, daß beim Umschalten auf Stellung „Start" die Nase (I) einwandfrei in die Aussparung des Sperrschiebers (K) gleiten kann.

1.55 Einstellung des rechten Friktionsrades (siehe Abb. 10)

Das rechte Friktionsrad (L) muß in Stellung " Stop" gleich große Abstände zum linken Friktionsrad (D) und der rechten Druckscheibe (M) aufweisen. Diese Abstände werden durch Biegen der Lasche (N) am Justierblech (H) eingestellt.

1.56 Einstellung des Haltemagneten für den schnellen Vor- und Rücklauf (siehe Abb. 11)

Gerät auf „Stop" schalten. Nach Lösen der Schrauben (A) ist ein Abstand von 0,2 ± 0,1 mm zwischen den Schenkeln des Haltemagneten (B) und dem Betätigungshebel (C) einzustellen. Es ist darauf zu achten, daß der Haltemagnet und der Betätigungshebel parallel zueinander stehen.

1.6 Prüfung und Einstellung der Aufwickelkupplung

Vor Durchführung dieser Prüfung sind die Friktionsflächen der Druckscheiben zu reinigen. Ebenso muß der Bandzugkomparator nach Abs. 1.4 eingestellt sein.

1.61 Prüfung 

Gerät ein- und auf „Start" schalten. Rechtes Kupplungsoberteil festhalten (dabei den rechten Fühlhebel nicht berühren). Die Friktion zwischen dem linken Friktionsrad, dem Antriebsrad und der rechten Druckscheibe muß jetzt so groß sein, daß die rechte Druckscheibe mit unverminderter Geschwindigkeit weiterläuft.

1.62 Einstellung der Betätigungsnase am Betätigungshebel (siehe Abb. 10) 

FunktionswählerüberdieStellung „Start" nach rechts bis zum Anschlag drehen. In dieser Stellung muß die Betätigungsnase (R) einen Abstand von 0,5 ± 0,1 mm zum Lagerarm (S) aufweisen. Eine gegebenenfalls erforderliche Einstellung kann durch Biegen der Betätigungsnase (R) erfolgen.

1.7 Prüfung und Einstellung der Bremsen

1.71 Prüfung

Die Bremsen arbeiten richtungsabhängig und wirken auf die Druckscheiben der Kupplungen. In Stellung „Start" , „Pause" und „Vorlauf" muß die rechte, in Stellung „Rücklauf" muß die linke Bremse abheben. In allen übrigen Betriebsstellungen liegen beide Bremsen an den Druckscheiben an.

1.72 Einstellung (siehe Abb. 10)

Betriebsstellung „Rücklauf" einschalten. Nach Lockern der Schrauben (O) kann der Betätigungshebel (P) so weit verschoben werden, daß die linke Bremse (Q) 1,5 mm bis 2 mm abhebt. / Die Einstellung der rechten Bremse erfolgt sinngemäß in Betriebsstellung „Vorlauf" .

1.8 Austausch der Friktionsräder und Antriebsriemen

1.81 Austausch des linken Friktionsrades (siehe Abb. 12) 

Schraube (R) entfernen, Haltestreifen (S) ausschwenken, Antriebsriemen (T) aus der Laufrille des Friktionsrades (D) heben und Friktionsrad (D) von der Achse abziehen. Der Einbau ist sinngemäß in umgekehrter Reihenfolge vorzunehmen. Der Haltestreifen (S) muß leicht auf das Lager des Friktionsrades (D) drücken.

1.82 Austausch des rechten Friktionsrades (siehe Abb. 12) 

Nach Entfernen der Seegerringe (U) und Aushängen der Feder (V) wird der Sperrschieber (K) so weit angehoben und nach rechts bewegt, bis sich der Lagerarm (W) mit dem rechten Friktionsrad (L) herausheben läßt. Das Friktionsrad (L) kann nach Entfernen des nunmehr freiliegenden Seegerringes ausgetauscht werden. Der Einbau ist sinngemäß in umgekehrter Reihenfolge vorzunehmen. Es ist darauf zu achten, daß alle Unterlegscheiben wieder eingebaut werden. Das Friktionsrad muß ein axiales Spiel von ca. 0,1 mm aufweisen.

1.83 Austausch des Antriebsrades (siehe Abb. 12)

Linkes Friktionsrad (D) gemäß Abs. 1.81 ausbauen, Schraube (X) lockern und Achse (Y) nach oben herausziehen. Das Antriebsrad (Z) kann jetzt leicht ausgetauscht werden. Der Einbau ist sinngemäß in umgekehrter Reihenfolge vorzunehmen. Es ist darauf zu achten, daß die Achse (Y) so weit eingeschoben wird, daß das Axialspiel des Antriebsrades ca. 0,1 mm beträgt.

1.84 Austausch des Antriebsriemens zum linken Friktionsrad (siehe Abb. 12)

Nach Entfernen der Schraube (R) und Ausschwenken des Haltestreifens (S) kann der Antriebsriemen (T) aus den Laufrillen gehoben und ausgetauscht werden. Der Einbau ist sinngemäß in umgekehrter Reihenfolge vorzunehmen.

1.85 Austausch des Antriebsriemens zum Bandzählwerk

Der Antriebsriemen wird aus der Laufrille des Antriebsrades am Bandzählwerk gehoben. Mit einer Pinzette läßt sich nunmehr der Riemen aus der Laufrille im Spulenteller herausziehen. Der Einbau ist sinngemäß in umgekehrter Reihenfolge vorzunehmen.

1.9 Prüfung und Einstellung des Bandgeschwindigkeitswählers

Die Umschaltung der Bandgeschwindigkeit erfolgt durch Verändern des Übersetzungsverhältnisses des Reibradgetriebes. Das Reibrad wird mit einer der vier Stufen der Motorrolle in Friktion gebracht und übermittelt ein Drehmoment auf die Schwungmasse. Auf unbedingte Sauberkeit der Gummilauffläche des Reibrades, sowie der Laufflächen der Motorrolle und der Schwungmasse ist zu achten.

1.91 Prüfung (siehe Abb. 13) 

In der Stellung 9,5 cm/s des Bandgeschwindigkeitswählers muß die Unterkante des Reibrades (A) und die Unterkante der Schwungmasse (B) bündig sein. Es ist darauf zu achten, daß in jeder Stellung des Bandgeschwindigkeitswählers die Unterkante des Reibrades (A) frei läuft, ohne an der nächsten Stufe der Motorrolle (C) zu streifen.

1.92 Einstellung (siehe Abb. 14) 

Die Einstellung des Reibrades (A) erfolgt nach Lockern der Kontermutter (B) durch Drehen der Einstellschraube (C).

In den O-Stellungen zwischen den verschiedenen Bandgeschwindigkeiten darf das Reibrad (A) nicht an die Schwungmasse oder die Motorrolle angedrückt werden. Gegebenenfalls kann der Betätigungswinkel (D) folgendermaßen justiert werden. Nach Lockern der Schrauben (E) ist der Betätigungswinkel (D) so zu verschieben, daß die Mitte des Lappens des Betätigungswinkels (D) auf die Mitte der Nocke am Lagerarm des Reibrades (A) drückt. Durch entsprechendes Biegen des Lappens ist die Stellung des Reibrades (A) wie oben beschrieben einzustellen.

2.0 Austausch des Reibrades (siehe Abb. 14) 

Bei Geräten, die längere Zeit in eingeschaltetem, aber stromlosen Zustand belassen werden, können Druckstellen im Gummibelag des Reibrades auftreten. Geräuschbildung oder Gleichlaufschwankungen sind die Folge. Der ursprüngliche Zustand kann sich jedoch nach 1—2 stündiger Betriebszeit wieder einstellen. Das Reibrad muß nicht sofort gewechselt werden.

Zeigt der Gummibelag des Reibrades bleibende Veränderungen, so muß das Reibrad ausgetauscht werden. Dazu ist wie folgt zu verfahren:

Bandgeschwindigkeitswähler auf die 0-Stellung zwischen 4,75 cm/s und 9,53 cm/s drehen, Schraube (I) lockern, Blattfeder (H) in Pfeilrichtung ausschwenken und das Reibrad (A) nach oben von der Achse abziehen. Der Einbau ist sinngemäß in umgekehrter Reihenfolge vorzunehmen. Abschließend ist die richtige Stellung des Reibrades wie unter Abs. 1.91 beschrieben zu kontrollieren.

2.1 Prüfung und Einstellung des Druckes der Andruckrolle an die Tonwelle

2.11 Prüfung

Volles Doppelspielband 18 cm 0 auf den linken Spulenteller auflegen und Band einlegen; Gerät auf Bandgeschwindigkeit 19 cm/s und „Start" schalten. Federwaage (Meßbereich 1000 p bzw. 10 N) an der Achse der Andruckrolle einhängen und so weit abziehen, bis das eingelegte Tonband zum Stehen kommt. Der in dieser Stellung von der Federwaage angezeigte Wert muß 600 ± 100 p bzw. 6 + 1 N betragen.

2.12 Einstellung (siehe Abb. 14)

Die Einstellung des Druckes der Andruckrolle an die Tonwelle erfolgt in Stellung „Start" . Nach Lockern der Kontermutter (L) kann durch Drehen der Stellschraube (M) im Uhrzeigersinn der Andruck erhöht werden. Durch Biegen des Lappens (N) am Zwischenhebel (O) wird ein Abstand von 0,5 mm zum Anschlag (P) am Lagerhebel (Q) eingestellt.

2.2 Schnellstop

2.21 Prüfung des elektrischen Schnellstops

Gerät in Betrieb setzen und auf Stellung „Start" schalten. Kontakte 3 und 4 der Buchse A miteinander verbinden. Der Schnellstopmagnet muß anziehen und die Andruckrolle 0,4 ± 0,1 mm von der Tonwelle abheben.

2.22 Einstellung des elektrischen Schnellstops (siehe Abb. 14)

Der Abstand von 0,4 ± 0,1 mm kann nach Lockern der Schrauben (U) durch Verschieben des Schnellstopmagneten (V) eingestellt werden.

2.23 Prüfung des mechanischen Schnellstops

Funktionswähler auf „Pause" schalten. Die Andruckrolle muß 0,4 ± 0,1 mm von der Tonwelle entfernt sein. Die aufwickelnde Kupplung darf das Band nur noch leicht spannen.

2.24 Einstellung des mechanischen Schnellstops (siehe Abb. 14)

Der Abstand von 0.4 ± 0,1 mm zwischen Andruckrolle und Tonwelle kann nach Lockern der Schraube (F) durch Verdrehen des Exzenters (G) eingestellt werden.

Das Mitnahmemoment der rechten Kupplung wird durch Biegen der Schaltstange (Y) so eingestellt, daß das Band in Stellung „Pause" bzw. bei elektrischem Schnellstop nur noch wenig gespannt ist.

2.3 Bandführungen

Die Einstellung der Bandführungen am Tonkopfträger ist beim Umrüsten von Vierspur auf Zweispur oder.umgekehrt nicht erforderlich. Sie kann erst nach Austausch von Teilen im Tonkopfträger notwendig werden.

2.31 Prüfung

Vordere Tonkopfabdeckung abziehen. Tonband einlegen. Gerät in Betrieb setzen und auf Stellung „Start" schalten. Das Tonband muß ohne an den oberen und unteren Begrenzungen der Bandführungen zu streifen, durchlaufen.

2.32 Einstellung (siehe Abb. 15)

Bezugspunkt für die Einstellung sind die in ihrer Höhe unveränderlichen äußeren Bandführungen. Die Bandführungsrolle (C) zwischen Dia-Pilot-Kopf (A) und Aufnahmekopf wird durch Verstellen der selbstsichernden Mutter (T) auf richtige Höhe gebracht. Nach Lockern der Kontermutter (D) wird durch Drehen der Schraube (E) die Bandführung (F) neben dem Wiedergabekopf eingestellt.

2.4 Kopfträger (siehe Abb. 15)

Eine Einstellung der Köpfe am Kopfträger ist beim Umrüsten von Vierspur auf Zweispur oder umgekehrt nicht erforderlich. Die Kopfträger sind bereits optimal justiert.

Zum Auswechseln eines Kopfes ist die entsprechende Befestigungsmutter (G), (H) oder (I) zu lösen, um den auf einer Montageplatte' sitzenden Kopf ausbauen zu können. Beim Einbau ist die Befestigungsmutter so stark anzuziehen, daß die darunterliegende Feder vorgespannt wird. Abschließend ist die Stellung aller Köpfe zu prüfen und gegebenenfalls eine Einstellung in untenstehender Reihenfolge vorzunehmen.

2.41 Löschkopf und Dia-Pilot-Kopf (siehe Abb. 15)

Löschkopf und Dia-Pilot-Kopf sitzen gemeinsam auf einer Montageplatte. Bei beiden Köpfen ist die senkrechte Stellung der Kopfspalte zu den Tonbandkanten unkritisch. Wichtig ist die richtige Höheneinstellung. Beim Vierspurkopfträger muß die Spaltoberkante des Löschkopfes mit der Bandoberkante abschließen. Beim Zweispurkopfträger müssen die Spaltkanten des Löschkopfes oben und unten gleich weit über die Bandkanten herausragen. Die Höhenverstellung des Löschkopfes erfolgt mit den Schrauben (K) und (L). Durch gleichmäßiges Drehen beider Schrauben wird eine Schrägstellung der Stirnflächen vermieden. — Der Dia-Pilot-Kopf ist bei beiden Ausführungen so zu justieren, daß der Kopfspalt mit der Bandunterkante abschließt. Die Höhenverstellung des Dia-Pilotkopfes erfolgt mit der Schraube (M).

2.42 Wiedergabekopf (siehe Abb. 15)

Zur Einstellung des Wiedergabekopfes ist das dem Gerätetyp entsprechende UHERZweispur- oder UHER-Vierspur-Justierband zu verwenden.

NF-Voltmeter (Ri > 10 MQ) an die Kontakte 3 und 2 (2 = Masse) der Buchse „Radio/Phono" anschließen. UHER-Justierband auflegen und einmal vor- und zurückspulen. Gerät auf Wiedergabe schalten. Wiedergabekopf durch Drehen der Schrauben (Q) und (R) auf die erforderliche Höhe einstellen. Hierbei ist die jedem Justierband beiliegende Anweisung zu beachten. Ein Neigen des Kopfes nach vorne oder hinten ist durch gleichmäßiges Drehen beider Schrauben zu vermeiden. Durch Drehen der Schraube (S) wird die maximale Ausgangsspannung des Justiertones am NF-Voltmeter (Ri > 10 MQ) eingestellt. Damit ist die Senkrechtstellung des Wiedergabekopfes erreicht.

2.43 Aufnahmekopf (siehe Abb. 15)

Tongenerator an die Kontakte 1/2 und 4/2 (2 = Masse) der Buchse „Radio/Phono" anschließen. Je ein NF-Voltmeter (Ri > 10 MQ) an die Kontakte 1/6 und 5/6 (6 = Masse) der Buchse „Projektor" anschließen. Tonband einlegen, Bandgeschwindigkeit 19 cm/s einschalten und Gerät in Betriebsstellung „Aufnahme" bringen. Die Taste „Mithören" darf nicht gedrückt werden!

Vom Tongenerator werden jetzt 1000 Hz mit ca. 50 mV eingespeist. Durch gleichmäßiges Drehen der Schrauben (N) und (O) wird an den beiden NF-Voltmetern ein Maximum eingestellt. Damit ist die richtige Höhe des Kopfes eingestellt. — Jetzt werden vom Tongenerator 10 kHz mit ca. 50 mV eingespeist. Durch Drehen der Schraube (P) wird an den beiden NF-Voltmetern ein Maximum eingestellt. Damit ist die Senkrechtstellung des Aufnahmekopfes erreicht.

2.5 Prüfung und Einstellung der Kontaktfedersätze und Schalter

2.51 Stummkontakte K 1/K 2 und Kontakt K 7 (siehe Abb. 16)

Die beiden Stummkontakte K1 und K 2 müssen so justiert sein, daß sie nur in Stellung „Stop" des Funktionswählers schließen. Der Kontakt K7 muß in dieser Stellung geöffnet sein. Die Einstellung kann nach Lokkern der Schraube (A) erfolgen.

2.52 Endabschaltkontakt K 3 (siehe Abb. 17)

Der Endabschaltkontakt K 3 ist nur in Stellung „Start" des Funktionswählers geöffnet. Er muß beim Drehen über die Stellung „Start" hinaus ebenso schließen, wie in Stellung „Pause" und " Stop" . Die Einstellung kann nach Lockern der Schrauben (A) und (B) erfolgen.

2.53 Vor-Rücklaufkontakt K 4 (siehe Abb. 16) 

Der Vor-Rücklaufkontakt K4 muß bereits sicher schließen, bevor der mechanische Anschlag erreicht wird. Die Einstellung kann nach Lockern der Schrauben (B) und (C) erfolgen.

2.54 Entzerrerumschalter 

Die Entzerrerumschalter müssen so eingestellt sein, daß in jeder Geschwindigkeitsstufe die Kontaktfedern der Schiebeschalter genau über zwei Messerkontakten stehen und keine Zwischenstellung einnehmen. Die Justierung erfolgt nach Lockern der Befestigungsschrauben durch Verschieben der Schiebeschalter auf den Mitnehmern.

2.6 Schmierung und Wartung

2.61 Schmierung 

Alle wichtigen rotierenden Teile sind in dauergeschmierten Sintermetallagern gelagert. Normale Schmieröle werden von diesen Lagern nicht angenommen. Die Schmierung muß stets mit Sinterlageröl erfolgen. Eine Nachschmierung ist jedoch erfahrungsgemäß erst nach jahrelangem Betrieb erforderlich. Alle Gleit- und Reibstellen sind jeweils nach ca. 500 Betriebsstunden mit nichtverharzendem Mehrzweckfett zu schmieren. Auf jeden Fall muß ein Übermaß an Schmiermitteln sorgfältig vermieden werden, da überschüssiges Fett oder Öl auf Reibungsbeläge oder Antriebsriemen geraten kann und dort unweigerlich Betriebsstörungen verursacht. Die zu verwenden Fette und Öle sind im UHER Schmiermittelsatz (Best.-Nr. 09046) zusammengestellt.

2.62 Wartung 

Absolute Sauberkeit der Tonkopfstirnflächen und Bandführungen ist von größter Wichtigkeit. Bandführungen, Tonwelle, Andruckrolle und Tonkopfstimflächen sind nach Entfernen der vorderen Tonkopfkappe von etwa anhaftenden Bandschichtteilen oder Staubablagerungen sorgfältig zu reinigen. Hierzu dient ein Holzstäbchen mit darübergezogenem, alkoholgetränktem Lappen. Bei jeder Bearbeitung des Gerätes sind sowohl die Antriebsriemen als auch die Laufflächen aller rotierenden und durch Friktion getriebenen Teile des Laufwerks mit einem alkoholgetränkten Lappen zu reinigen.

Alle Kontakte sind auf Sauberkeit zu kontrollieren und gegebenenfalls zu säubern.

2.7 Technische Daten 

Alle SG 560 Royal-Geräte erfüllen die HiFi-Norm DIN 45 500 (Bei den Bandgeschwindigkeiten: 19 cm/s und 9,5 cm/s)

Aufzeichnung: Vierspur oder wahlweise Zweispur (durch austauschbaren Tonkopfträger), Mono- und Stereo-Aufnahme und -Wiedergabe

Bandgeschwindigkeiten: 19 cm/s 9,5 cm/s, 4,7 cm/s, 2,4 cm/s

Frequenzbereich 19 cm/s: 20 – 20 000 Hz

Frequenzbereich 9,5 cm/s: 20 – 15 000 Hz

Frequenzbereich 4,7 cm/s: 20 - 9 000 Hz

Tonhöhenschwankungen 19 cm/s:± 0.04 %

Tonhöhenschwankungen 9,5 cm/s: ±0.10%

Tonhöhenschwankungen 4,7 cm/s: ± 0.20 %

Ruhegeräuschspannungsabstand 19 cm/s > 56 dB/4 Sp. (> 58 dB/2 Sp.)

Ruhegeräuschspannungsabstand 9,5 cm/s > 55 dB/4 Sp. (> 57 dB/2 Sp.)

Ruhegeräuschspannungsabstand 4,7 cm/s > 52 dB/4 Sp. (> 56 dB/2 Sp.)

Löschdämpfung:19 cm/s: > 72 dB, 1000 Hz

Generatorfrequenz: 100 kHz ± 10 %

Übersprechdämpfung:> 60 dB mono / > 45 dB Stereo

Eingang: Mikrofon > 0,12 mV - max. 70 mV

Eingang: Radio > 1,2 mV - max. 110 mV

Eingang: Phono I > 40 mV - max. 2,8 V

Eingang: Phono II > 200 mV - max. 18 V

Ausgänge: > 700 mV an 15kOhm

Lautsprecherausgang:6,4 V an 4 Ohm , 10 Watt 

Quellwiderstand 0,1 Ohm

Monitor: > 500 mV an 15 kOhm

Alle Daten werden entsprechend den durch die deutschen Normen (DIN) festgelegten Messvorschriften für Magnettongeräte angegeben.

2.71 Daten des Verstärkers

Übertragungsbereich: 20 - 30 000 Hz

Ausgangsleistung an 4 Ohm Sinus Dauerton: 2x 10 Watt

Leistungsbandbreite: 20 - 14 000 Hz (bei 1 % Klirrfaktor)

Übersprechdämpfung: >60 dB

Fremdspannungsabstand:

Pegel I bei 50 mW > 64 dB 

Pegel II bei 50 mW > 69 dB 

bei 10 W > 75 dB (bei Mindesteingangspegel nach DIN 45 500)

Balance:jeder Kanal kann auf Null eingestellt werden

Höhen:+14 dB bis -16 dB

Tiefen:+16 dB bis -19dB

Klirrgrad: < 0,5 % (bei Nennleistung 1 kHz)

Alle Daten werden entsprechend den durch die deutschen Normen (DIN) festgelegten Messvorschriften für Magnettongeräte angegeben.

Die Serviceanleitung für das Gerät UHER SG 560 Royal gilt auch für die Geräte UHER Royal de Luxe und UHER Royal de Luxe C. Die Abs. 1.0, 1.85, 2.23, 2.24, 2.25, 2.7 und 2.71 weichen wie folgt ab:

1.0 Ausschwenken des Gerätes aus dem Gehäuse (siehe Abb. 21 )

Um die Servicearbeiten auszuführen, wird das Gerät folgendermaßen aus der Holzzarge herausgeschwenkt:

Befestigungsschrauben (A) des Traggriffes (B) entfernen. Die nun zugänglich gewordenen Gewindebuchsen (C) lösen und das Gerät in Pfeilrichtung aus der Holzzarge herausschwenken.

1.85 Austausch des Antriebsriemens zum Bandzählwerk

Zum Austausch des Antriebsriemens sind zweckmäßigerweise die Bedienungsknöpfe und die Abdeckplatte zu entfernen. Dann kann der Antriebsriemen aus der Laufrille des Antriebsrades am Bandzählwerk gehoben werden. Mit einer Pinzette läßt sich nunmehr der Riemen aus der Laufrille im Spulenteller herausziehen. Der Einbau ist sinngemäß in umgekehrter Reihenfolge vorzunehmen.

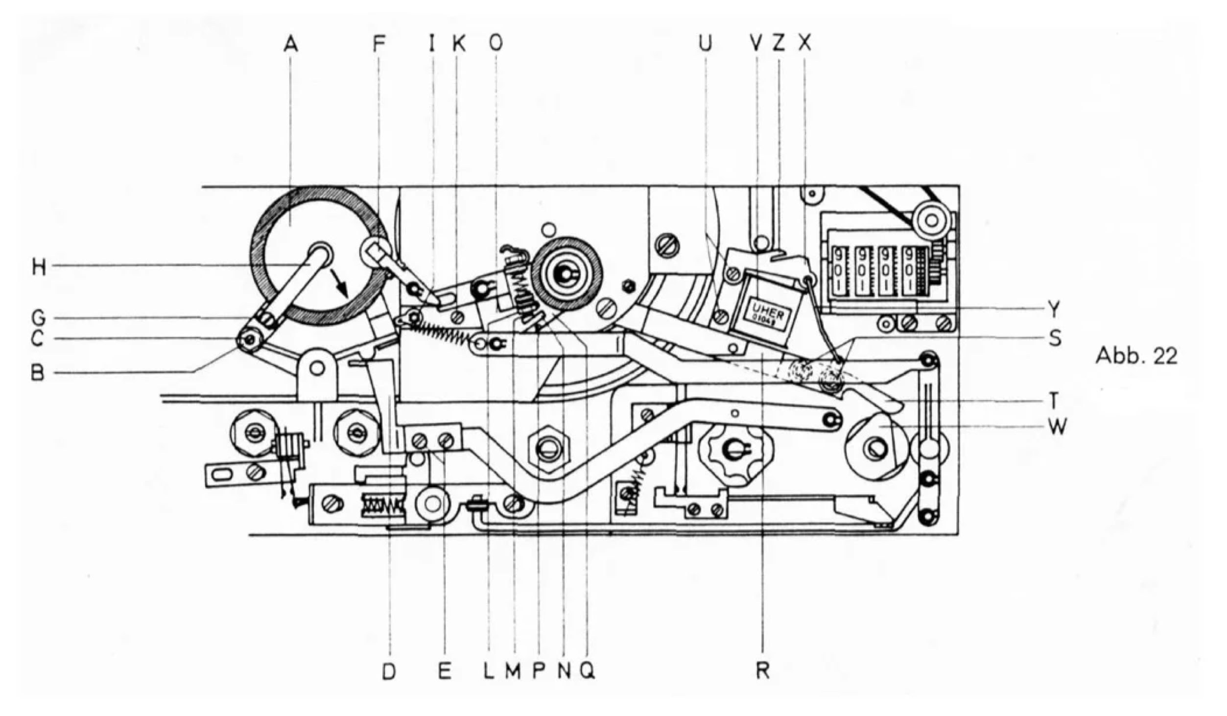
2.23 Prüfung des mechanischen Schnellstops (siehe Abb. 22)

Funktionswähler auf „Pause" schalten. Die Andruckrolle muß 0,4 ± 0,1 mm von der Tonwelle entfernt sein. Die aufwickelnde Kupplung darf das Band nur noch leicht spannen. Funktionswähler auf „Start" schalten. Der Schnellstopbetätigungshebel (R) darf nun locker an der Schaltnocke (W) des Funktionswählers anliegen.

2.24 Einstellung des mechanischen Schnellstops (siehe Abb. 22)

Der Abstand von 0,4 ± 0,1 mm zwischen Andruckrolle undTonwelle kann nach Lockern der Schrauben (S) durch Verschieben des Hebels (T) eingestellt werden. Das Mitnahmemoment der aufwickelnden Kupplung wird vom Schnellstopbetätigungshebel (R), der Schaltstange (Y), dem Hebel (X) und dem rechten Fühlhebel bestimmt. Im Bedarfsfall kann durch Biegen der Schaltstange (Y) bzw. der Nase (Z) das Mitnahmemoment verändert werden.

2.25 Einstellung des Schnellstops ab Gerät Nr. 294458260 bzw. 294511000

Die Einstellung des Schnellstops wurde durch Einbau eines Exzenters vereinfacht. Bei der Einstellung ist wie folgt zu verfahren (siehe Abb. 23).

Gerät auf „Start" schalten und el. Schnellstop betätigen. Nach Lockern der Schraube (A) kann durch Verdrehen des Exzenters (B) ein Abstand von 0,4 +-0,1 mm zwischen der Tonwelle (D) und der Andruckrolle (C) eingestellt werden. Es ist darauf zu achten, daß bei betätigtem el. Schnellstop das Justierblech (E) genau auf der Schaltnocke (F) aufliegt. Gegebenenfalls ist der Exzenter (B) um ca. 180° zu verdrehen und die Einstellung zu wiederholen.

Gerät auf „Pause" schalten. Nach Lockern der Schrauben (G) muß das Justierblech (E) so eingestellt werden, daß die Andruckrolle 

(C) genau so weit von der Tonwelle (D) abhebt wie bei Betätigung des el. Schnellstops. Das Mitnahmemoment der rechten Kupplung wird durch Biegen der Schaltstange (H) so eingestellt, daß das Band in Stellung „Pause" bzw. bei el. Schnellstop nur noch wenig gespannt ist.

2.32 Einstellung der Bandführung (s. Abb. 24)

Bezugspunkt für die Einstellung sind die in ihrer Höhe unveränderlichen äußeren Bandführungen. Die Bandführung (A) neben dem Dia-Pilot-Kopf wird durch Drehen der Schraube (B) eingestellt. — Die Bandführungsrolle (C) zwischen Bandführung (A) und Aufnahmekopf wird durch Verstellen der selbstsichernden Mutter (T) auf richtige Höhe gebracht.Nach Lockern der Kontermutter (D) wird durch Drehen der Schraube (E) die Bandführung (F) neben dem Wiedergabekopf eingestellt.

2.7 Technische Daten 

Alle Royal de Luxe bzw. Royal de Luxe C Geräte erfüllen die HiFi-Norm DIN 45 500 (Bei den Bandgeschwindigkeiten: 19 cm/s und 

9,5 cm/s)

Aufzeichnung: Vierspur oder wahlweise Zweispur (durch austauschbaren Tonkopfträger), Mono- und Stereo-Aufnahme und -Wiedergabe

Bandgeschwindigkeiten: 19 cm/s 9,5 cm/s, 4,7 cm/s, 2,4 cm/s

Frequenzbereich 19 cm/s: 20 – 20 000 Hz

Frequenzbereich 9,5 cm/s: 20 – 15 000 Hz

Frequenzbereich 4,7 cm/s: 20 - 9 000 Hz

Tonhöhenschwankungen 19 cm/s:± 0,05 %

Tonhöhenschwankungen 9,5 cm/s: ±0,10%

Tonhöhenschwankungen 4,7 cm/s: ± 0,20 %

Ruhegeräuschspannungsabstand 19 cm/s > 52 dB/4 Sp. (> 54 dB/2 Sp.)

Ruhegeräuschspannungsabstand 9,5 cm/s > 51 dB/4 Sp. (> 53 dB/2 Sp.)

Ruhegeräuschspannungsabstand 4,7 cm/s > 51 dB/4 Sp. (> 53 dB/2 Sp.)

Löschdämpfung:19 cm/s: > 72 dB, 1000 Hz

Generatorfrequenz: 100 kHz ± 10 %

Übersprechdämpfung:> 60 dB mono / > 45 dB Stereo

Eingang: Mikrofon > 0,12 mV - max. 70 mV

Eingang: Radio > 1,2 mV - max. 110 mV

Eingang: Phono I > 40 mV - max. 2,8 V

Eingang: Phono II > 200 mV - max. 18 V

Ausgänge: > 500 mV an 15kOhm

Lautsprecherausgang (nur Royal de Luxe):6,4 V an 4 Ohm , 10 Watt 

Quellwiderstand 0,1 Ohm

Monitor: > 500 mV an 15 kOhm

Alle Daten werden entsprechend den durch die deutschen Normen (DIN) festgelegten Messvorschriften für Magnettongeräte angegeben.

2.71 Daten des Verstärkers (nur Royal de Luxe)

Übertragungsbereich: 20 - 30 000 Hz

Ausgangsleistung an 4 Ohm Sinus Dauerton: 2x 10 Watt

Leistungsbandbreite: 20 - 14 000 Hz (bei 1 % Klirrfaktor)

Übersprechdämpfung: 60 dB

Fremdspannungsabstand:

Pegel I bei 50 mW 64 dB 

Pegel II bei 50 mW 69 dB 

bei 10 W 75 dB (bei Mindesteingangspegel nach DIN 45 500)

Balance:jeder Kanal kann auf Null eingestellt werden

Höhen:+14 dB bis -16 dB

Tiefen:+16 dB bis -19dB

Klirrgrad: < 0,5 % (bei Nennleistung 1 kHz)

Alle Daten werden entsprechend den durch die deutschen Normen (DIN) festgelegten Messvorschriften für Magnettongeräte angegeben.